氣動衛生蝶閥采用标準電子抛光,光滑表面确保清潔,無介質積存區🛌🏻域,不會産生潛在的污染。快速拆裝閥,使閥門打開和維修快捷容易,使👻過程停機時間縮短。廣泛應用于如食品、制藥、化妝品、潔淨蒸汽🏃🏿♀️➡️、酒類、飲料、生🙂↔️化工業過程控制場合。具有結構緊湊、裝拆方便等👩🏽🐰👩🏿優點。
采用标準
設計标準:GB/T2238-1989
法蘭連接尺寸:GB/T9113.1-2000;GB/T9115.1-2000;JB78
結構長度:GB/T12221-1989
壓力試驗:GB/T13927-1992;JB/T9092-1999
主要技術參數
公稱通徑 | DN(mm) | 15~150 | ||
公稱壓力 | PN(MPa) | 0.6 | 1.0 | 1.6 |
試驗壓力 | 強度試驗 | 0.9 | 1.5 | 2.4 |
密封試驗 | 0.66 | 1.1 | 1.76 | |
氣密封試驗 | 0.6 | 0.6 | 0.6 | |
适用介質 | 空氣、水、蒸氣、油品等。 | |||
驅動形式 | 手動、蝸杆蝸輪傳動、氣傳動、電傳動。 | |||
連接方式 | 快裝式、卡箍式、外螺紋、焊接式等 | |||
主要零件材質
零件名稱 | 材料 |
閥體 | 304、316、316L |
蝶闆 | 304、316、316L |
密封圈 | 矽橡膠、氟橡膠、聚四氟 |
閥杆 | 304、316、316L |
填料 | 矽橡膠、氟橡膠、聚四氟 |
蝶閥密封材料選用和适用溫度
材料品種 | 聚四氟乙烯 | 矽橡膠 | 氟橡膠 | 天然橡膠 | 尼龍 |
英語簡稱 | PTFE | SI | VITON | NR | PA |
型号代号 | F或XC、JC | XD或JD | XE或JE | X1 | N |
耐最高溫度 | 232℃ | 250℃ | 204℃ | 85℃ | 93℃ |
耐最低溫度 | -268℃ | -70℃ | -23℃ | -20℃ | -73℃ |
适用工作溫度 | -30~+150℃ | -70~+150℃ | -23~+150℃ | -20~+85℃ | -30~+93℃ |
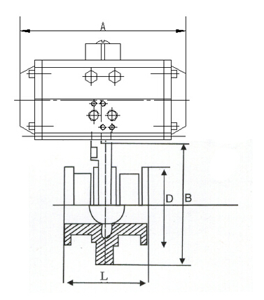
結構圖

外形尺寸
規格 (ISO) | A | B | D | L | H | Kg |
20 | 50 | 78 | 19.05 | 130 | 82 | 1.2 |
25 | 50 | 78 | 25.4 | 130 | 82 | 1.2 |
32 | 50 | 78 | 31.8 | 130 | 82 | 1.05 |
38 | 50 | 86 | 38.1 | 130 | 86 | 1.2 |
51 | 52 | 102 | 50.8 | 140 | 96 | 1.7 |
63 | 56 | 115 | 63.5 | 150 | 103 | 2.1 |
76 | 56 | 128 | 76.1 | 150 | 110 | 2.4 |
89 | 60 | 139 | 88.9 | 170 | 116 | 2.7 |
102 | 64 | 154 | 101.6 | 170 | 122 | 3.05 |
108 | 64 | 159 | 108 | 170 | 126 | 3.15 |
133 | 80 | 138 | 133 | 190 | 138 | 5.2 |
159 | 90 | 215 | 159 | 190 | 153 | 9.2 |



打印當前頁
查看及下載技術文檔
發郵件給我們:





